當前位置: >>首頁>脫硫脫硝產品
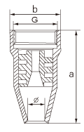
噴嘴圖片:

噴霧形狀:

規格型號:Φ7~27mm
設計特點:
G型噴霧噴嘴的特點是能產生實心錐形噴霧形狀。噴射區域成圓形,噴霧角度為43-120°。該類噴嘴能在大范圍流率和壓力下產生分布均勻、液滴大小為中等到偏大的噴霧,這種均勻的噴霧分布來源于獨特的葉片設計,大而通暢的流道和先進的噴流控制特性。G型噴嘴經精密工藝制造而成,對于要求覆蓋一個區域的噴流應用領域,能發揮更好的效果。
G型噴霧噴嘴為內螺紋接頭。材質有316不銹鋼和聚乙烯材料。
性能參數:

適用范圍:氣體洗滌與冷卻、水冷卻、滅塵控制、化學反應處理、金屬處理、其它熱交換應用
型號標注說明:Φ10 G - B - 2.3
Φ10:噴孔孔徑
G:噴嘴型號
B:316L不銹鋼材質(可選)
2.3:流量大小(m3/h)
相關資訊
產品中心
聯系我們
宜興市宙斯泵業有限公司
咨詢:0510-87440300
Email:754917141@qq.com
公司地址:江蘇省宜興市丁蜀鎮大浦工業集中區





